Producenci
Oczyszczalnia biologiczna dla 3 osób dwukomorowa one2clean 3 GRAF z nadbudową standard ze zintegrowaną pompownią IPS
Cena regularna:
towar niedostępny
dodaj do przechowalni
Opis
Oczyszczalnia biologiczna dwukomorowa dla 3 osób one2clean 3 GRAF z nadbudową standard ze zintegrowaną pompownią IPS
Norma PN EN 12566-3:2005 + A2:2013 umożliwia znakowanie wyrobów symbolem CE oraz dofinansowanie z NFOŚiGW
One2clean to innowacyjne oczyszczalnie ścieków, które są dostępne na terenie całej Polski dzięki ogólnokrajowemu systemowi sprzedaży i serwisu zarządzanemu przez firmę GRAF Polska. System ten został stworzony, aby zapewnić Inwestorom bezawaryjną oraz wieloletnią eksploatację przydomowych oczyszczalni ścieków. One2clean to w pełni biologiczna przydomowa oczyszczalnia ścieków, spełniająca wymagania normy PN EN 12566-3+A2:2013 i posiadająca znak CE.
Zbiornik oczyszczalni jednozbiornikowej one2clean jest podzielony przegrodą na dwie komory: komorę separacji elementów pływających oraz komorę z osadem czynnym. Obie komory są połączone w dolnej części zbiornika, co umożliwia przepływ podczyszczonych ścieków. W procesie oczyszczania wszystkie ścieki z gospodarstwa domowego są poddawane oczyszczaniu tlenowemu. Sprężone powietrze, dostarczane przez dyfuzory, zapewnia napowietrzenie całej instalacji. Dzięki temu powstający osad czynny skutecznie oczyszcza ścieki biologicznie.
Zanieczyszczenia pływające są zatrzymywane przez częściową przegrodę w strefie buforowania. Następnie przepływają dolną częścią zbiornika do strefy czynnej. Dodatkowo, strefa buforowania jest również napowietrzana, co powoduje, że zatrzymane w niej cząstki stałe ulegają stopniowej degradacji tlenowej, wspomagając tym samym cały proces oczyszczania.



Parametry pompy DAB NOVA A 180:
Przepływ min. i maks.: od1 m3/h do 16 m3/h
Wysokość podnoszenia do: 10,2 m
Maks. głębokość zanurzenia: 7 m
Rodzaj tłoczonego medium: woda czysta lub woda deszczowa
Swobodny przelot: 5 mm lub 10 mm (w zależności od modelu)
Minimalna wysokość zasysania: NOVA 180/200 – 8 mm
Zakres temperatury medium:
od +0°C do +35°C - zastosowanie w gospodarstwach domowych
od +0°C do +50° C - inne zastosowania
Stopień ochrony: IP 68
Klasa izolacji silnika: F
Materiał wirnika: technopolimer
Zasilanie jednofazowe: 230 V 50 Hz
Zasilanie trójfazowe: 3x400V 50 Hz
Montaż: stacjonarny lub przenośny w pozycji pionowej


Parametry biologicznej oczyszczalni one2clean 3 + IPS:
Pakiet +IPS to pompa montowana
w komorze ścieków oczyszczonych,
która zastępuje dodatkowy montaż
przepompowni ścieków.
Sterowanie pracą pompy odbywa
się przez zainstalowany sterownik
oczyszczalni.
Pompa DAB NOVA A 180 - 1 szt.
Maksymalna liczba użytkowników: 3
Dzienna przepustowość: (0,45 m3/d)
Liczba zbiorników: 1
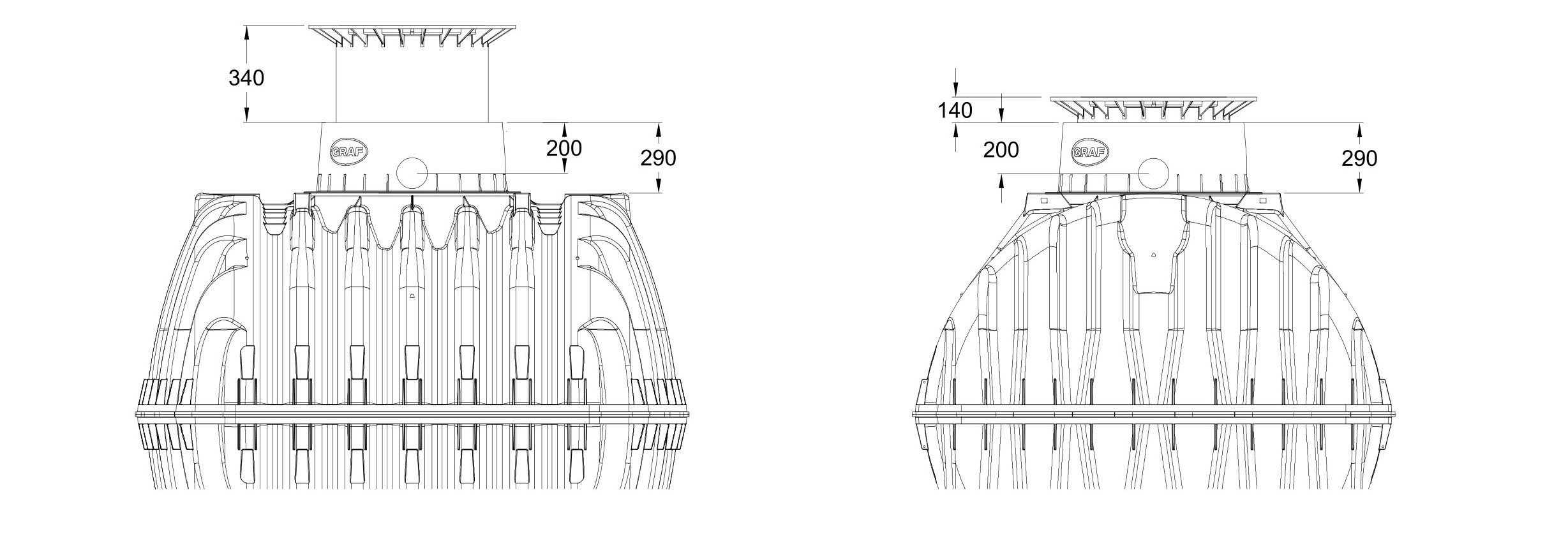
Nadbudowa standard (obracana 360°) z pokrywą teleskopową: H -290 mm
Wysokość pokrywy teleskopowej: 340 mm
Długość : 2080 mm
Łączna objętość oczyszczalni: 2700 l
Liczba komór: 2
Dyfuzor rurowy: 1
Wysokość maksymalna z nadbudową: 1690 / 2010 mm
Wysokość zbiornika: 1600 mm
Wysokość do wlotu: 1205 mm
Wysokość do wylotu: 1200 mm
Szerokość: 1565 mm
Średnica pokrywy: 625 mm
Średnica wlotu: 110 mm
Średnica wylotu: 110 mm
Waga: 120 kg
Normy oraz certyfikaty:
- Deklaracja właściwości użytkowych
- Norma PN EN 12566-3+A2:2013 umożliwia znakowanie wyrobów symbolem CE oraz dofinansowanie z NFOŚiGW
Gwarancja:
Okres gwarancji na zbiornik: 15 lat
Okres gwarancji dla osprzętu: 2 lata ( po zarejestrowaniu gwarancji w pierwszym roku zakupu) 3 lata

Pliki do pobrania:
-
Drawing_one2clean-3-2700_W-803.pdf
-
GRAF-Książka użytkownika-one2clean.pdf
-
DWU-one2clean-15-03-2021.pdf
-
CE_one2clean_KKA_EN.pdf
-
PIA-Pruefzeugnis-Certificate-one2clean.pdf
-
71DXJIoZNWL._AC_SL1500_.jpg
-
broszura_pompy_zatapialne_feka_nova_0.pdf
-
Dokumentacja techniczna DAB NOVA A.pdf
-
Instrukcja obługi pompa DAV NOVA A.pdf
-
Krótka instrukcja pompa DAB NOVA A.pdf
-
Pompa DAV NOVA ulotka.pdf